Установка цепного электропривода Giesse

Материал из ВикиПро: Отраслевая энциклопедия. Окна, двери, мебеля
Перейти к: навигация, поиск
Мне нравится
3

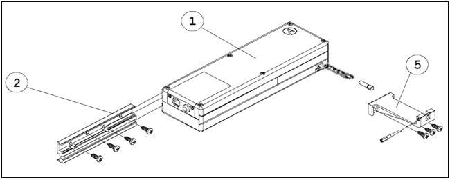
В комплекте идет:

  • привод
  • инструкция
  • крепежные элементы
  • два шаблона (рамный и створчатый)
  • электрические подсоединения
  • кронштейн крепления привода на раму
  • комплект крепления на створку

В комплекте с приводом идет два вида крепления на створку: для верхнеподвесного и нижнеподвесного окна.

Priv1.JPG

Priv2.JPG

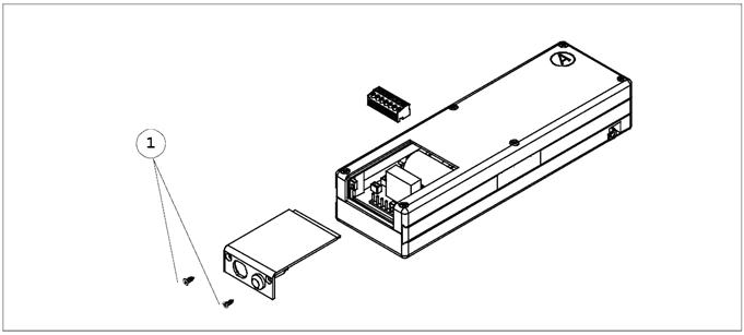
В первую очередь Вам необходимо снять декоративную крышку (расположенную с боку привода; в том месте, где находится красный индикатор закрытия), подключить провода и аккуратно поместить декоративную крышку на ее место. Проверить работу привода.

Priv3.JPG

Теперь необходимо выполнить регулировку цепи. Для этого нужно снять защитную крышку с задней стороны привода (см. рисунок); теперь Вы видите часть цепи. Выдвигаем цепь – чтобы показался «красный флажок» (ограничитель длинны цепи). Достаем «флажок» и регулируем цепь на нужную нам длину, затем устанавливаем флажок в цепь (флажок устанавливается треугольником вниз – это важно).

Priv4.JPG

После того, как цепь отрегулирована, нам остается установить привод на конструкцию. Отключаем привод от сети. Далее, измеряем размеры створки (привод должен находиться посередине), отмечаем осевые линии и клеим шаблоны; сверлим отверстия. Следующее наше действие – установка кронштейна крепления на створку и кронштейна крепления привода. Устанавливаем привод в кронштейн и фиксируем с помощью специальной планки. Соединяем привод и кронштейн створки.

Priv5.JPG

1 привод;
2 кронштейн;
3 Штифт с резьбой;
4 Кронштейн крепления для верхнеподвесных окон;
5 Кронштейн крепления для откидных окон;
6 Штифт;
7 Саморезы;
8 Разъем для кабеля;
9 Винты и ключ;
10 Шаблон сверления;
11 Комплект фиксатора откидывания;
12 Декор вставка;
Контргайка, инструкция


Вклад участников

Алексей Чупин

Обратная связь Автору